Osculati - Swivelling connection AISI 316 10 mm - 01.740.10

Brand: Osculati
Durable swivelling connection in AISI 316 stainless steel for smooth anchor chain operation.
Manufacturer part number: 01.740.10
GTIN: 8033137067457
€57.06 incl tax
i h
Delivery date: 3-5 days
Made of precision-cast AISI 316 stainless steel without protrusions, used to connect the chain to the anchor. It lets the anchor chain slide smoothly through the bow roller and avoids entangling of the shackle. New reinforced model with additional finish, exclusively made by Osculati.

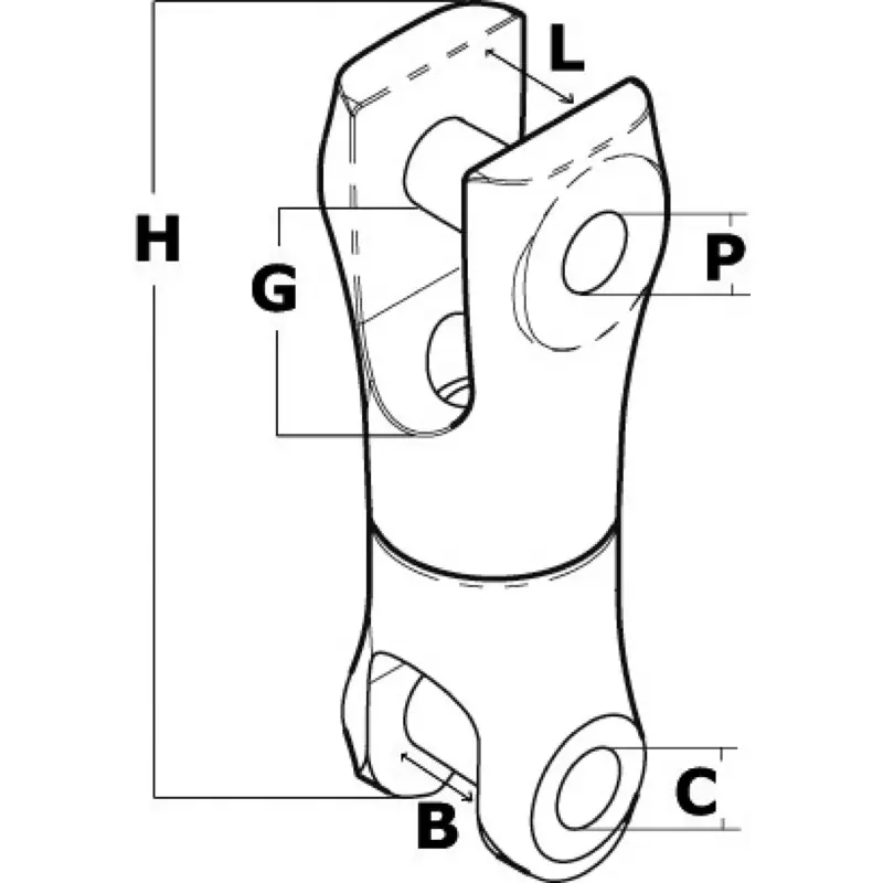
Specifications

PropertyValue
Chain Ø mm9/10
Breaking load kg6150
B mm13
C mm11
L mm21
G mm28
P mm11
H mm120

Attachments

Shipping quote banner for bulk orders from multiple sellers, offering specialised shipping solutions.