Osculati - SPX manual winch max 1125 kg - 02.250.00

Brand: Osculati
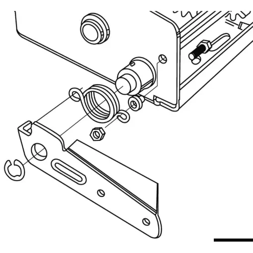
Powerful Osculati SPX manual winch with a 1125 kg capacity, ideal for marine use.
Manufacturer part number: 02.250.00
GTIN: 8033137070327
€119.50 incl tax
i h
Delivery date: 3-5 days
Chromed-zinc steel body, high-resistance hardened steel pinions, self-lubricating bushing, reinforced handles, stainless steel springs, cased gearing. Black epoxy powder coated. CE certified by TÜV.The maximum traction load refers to the use with only one cable turn on the drum.

Specifications

PropertyValue
Max pull kg1125
Ratio5:1 and 12:1
Cable capacity m30 (Ø 5 mm) / 15 (Ø 8 mm)
Speeddouble
GearForward, idle, reverse
mm175x125

Attachments